2026年广东自考新政策后,完整报考以及毕业流程详细攻略
添加顾问 立领优惠
对于很多自考新手来说自考什么时候报名?怎么选专业?流程到底有哪些?
今天就给大家整理了「广东自考完整流程+关键节点+避坑提醒」
一、前期准备:选专业以及院校
在正式报名前,先做好这2步,避免走弯路:
1. 确定报考层次与专业
广东自考分为「专科」和「本科」两个层次,无学历门槛(年满16周岁中国公民即可报考),无需入学考试,只要通过所选专业全部科目,就能申请毕业。选专业技巧:优先结合职业规划(如教育类选华南师大、财经类选广东财大);数学基础薄弱的同学,可选择文科类专业(多数不考数学);注意部分特殊专业有额外要求,比如护理学(本科)仅接受持护理学专科毕业证、有卫生类执业资格的在岗人员报考。
查专业计划:登录「广东省教育考试院官网」,查询对应专业的开考课程、教材版本,明确考试难度和备考重点。
2. 分清大自考与小自考(按需选择)
广东自考分两种形式,大家可根据自身时间和基础选择:
大自考:全年3次统考(1月、4月、10月),全程自主报名、自主备考,费用低(仅52元/科报考费),拿证周期2-2.5年左右;
小自考:在统考基础上增加2次校考(5月、11月),院校命题,通过率更高,有正规助学点指导,最快1.5年拿证,适合工作忙、想高效拿证的小伙伴。
二、中期准备:报考到考试
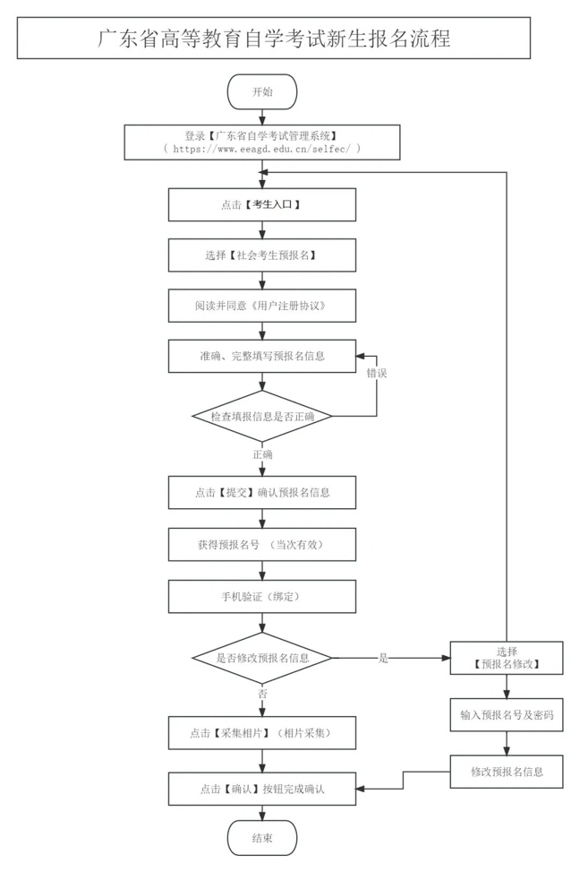
1、新生注册(仅首次报考需做)
注册全程线上完成,唯一官方入口:「广东省自学考试管理系统」(可通过省教育考试院官网跳转,切勿轻信第三方平台),分2个阶段
预报名:
在规定时间内(如2026年4月考试,预报名时间为2月26日10:00-3月1日12:00),从系统【考生入口】进入,录入个人信息、设置登录密码,生成唯一预报名号(当次有效,务必牢记),同时绑定本人手机号、采集个人相片;
正式报名:
凭预报名号登录系统,确认个人信息无误,等待相片审核(系统自动验证,审核不通过需重新上传),审核通过后生成唯一准考证号(终身有效,后续报考、查分、毕业都需用到);特殊情况:因面容变化等无法线上报名、相片审核未通过的,需联系所在地市自考办,按指定途径完成报名,逾期不再受理。
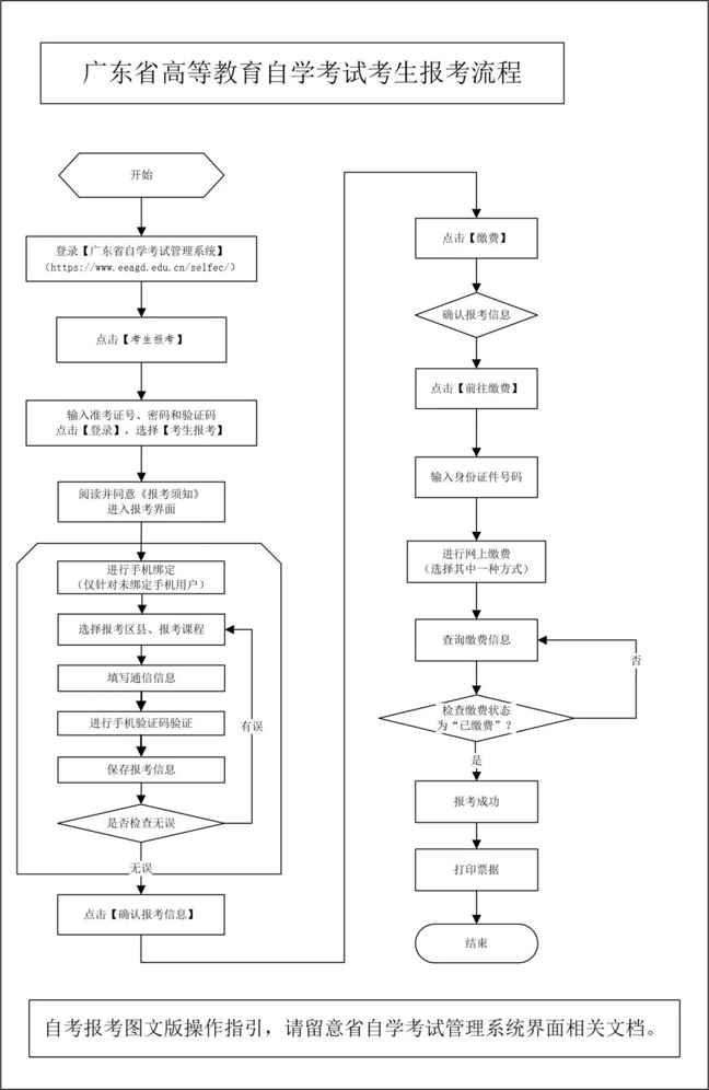
2、课程报考(新老生都需做)
注册成功(老生直接用准考证号登录)后,在规定报考时段内(如2026年4月考试,报考时间为3月3日14:00-3月6日17:00),完成以下操作:
登录系统【考生报考】通道,阅读并同意报考须知;选择考区(根据自身情况选择,考位紧张,建议尽早报考),结合备考情况选择报考课程(每次最多报考4科);确认报考信息(一旦确认,无法修改),完成短信验证,然后在缴费时段内(如3月4日10:00-3月7日17:00)网上缴费,缴费成功后需再次登录核对“已缴费”状态,才算报考成功(报考费52元/科,缴费后不予退还)。
3、备考冲刺(通关关键)
报考成功后,就进入备考阶段,这一步直接决定能否顺利通关:
备齐教材:根据省考试院公布的教材信息,核对课程代码和版本,避免买错教材;科学备考:结合考试大纲研读教材、梳理重点,刷历年真题、建立错题本,考前回归教材和笔记;注意提醒:小自考考生可借助助学点提供的网课、题库和辅导,提高备考效率;大自考考生可关注官方通知,获取备考干货。
4、打印准考证+参加考试
打印准考证:考前10天内,登录自考管理系统打印准考证(用普通A4纸,严禁涂改、伪造),准考证上会载明考试座位、科目、时间等关键信息,务必妥善保管;参加考试:携带身份证、准考证(缺一不可),按准考证上的时间、地点赴考,遵守考场纪律;考试时间通常为周末(如2026年4月考试为4月11日-12日),每日上午9:00-11:30、下午14:30-17:00;温馨提示:遇到不会的题目不要空卷,结合自身理解作答,争取每一分。
5、查询成绩+补考(如有需要)
考试结束后约1个月,登录自考管理系统查询成绩,单科成绩60分及以上为合格,实践考核需达到合格标准(五级评分制);
若成绩不合格,可在下次报考时重新报名该科目,无补考次数限制,直到考合格为止。
三、后期准备:申请毕业
1、申请毕业
当所有必考课程、选考课程(含实践考核)全部合格后,即可申请毕业,每年有2次申请机会(通常为6月、12月):
专科:直接登录系统提交毕业申请,审核通过后等待领取毕业证;
本科:除了全部科目合格,还需完成毕业论文(设计)并达到良好及以上成绩,同时提供国家承认的专科学历证明(提前准备学历认证材料),提交毕业申请后,等待审核。
审核通过后,3个月左右可领取毕业证,半年内可在学信网查询学历信息,毕业证加盖省自考办和主考院校双公章,国家承认、终身可查。
2、申请学士学位
想拿到学士学位证的本科考生,需在毕业一年内(部分院校为6个月)申请,满足以下条件:
通过学位英语考试(建议毕业前考完,部分院校可接受其他外语成绩替代);主干课程平均分达到70-75分(具体以主考院校要求为准);毕业论文(设计)成绩良好及以上。
申请成功后,可领取学士学位证,与统招学位证法律效力相同,在公务员考试、研究生报考、求职时更具优势。
粤ICP备18120811号
电子营业执照


